16. What is the advantage of using digital multimeter?डिजिटल मल्टीमीटर का उपयोग करने का क्या फायदा है? (A) Accuracy शुद्धता (B) Linear scale रैखिक पैमाने (C) Easy portability आसान पोर्टेबिलिटी (D) Logarithmic scale लघु गणक मापकANSWER - AShow Answer
17. Which meter movement is not affected by stray magnetic fields?किस मीटर की गति स्ट्रे चुंबकीय क्षेत्रों से प्रभावित नहीं होती है? (A) PMMC meter PMMC मीटर (B) Thermo couple meter थर्मों युगल मीटर (C) MI meter - attraction type MI मीटर - आकर्षण प्रकार (D) MI meter - Repulsion type MI मीटर - प्रतिकर्षण प्रकारANSWER - AShow Answer
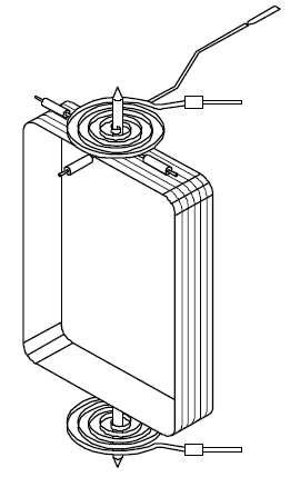
18. Which measuring instrument has the movement shown in the figure? चित्र में किस मापक यंत्र की गति दिखाई गई है? (A) Moving coil instrument मूविंग कॉइल इंस्ट्रूमेंट (B) Attraction type MI meter अट्रैक्शन टाइप MI मीटर (C) Repulsion type MI meter रिपल्सन टाइप MI मीटर (D) Centre zero galvanometer सेंटर जीरो गैल्वेनोमीटरANSWER - AShow Answer
19. Which position is the moving coil meter kept for measurements shown in the figure?चित्र में दिखाए गए माप के लिए मूविंग कॉइल मीटर को किस स्थिति में रखा गया है? (A) Vertical ऊर्ध्वाधर (B) Horizontal क्षैतिज (C) Inclined by 45° 45° से झुका हुआ (D) Inclined by 60° 60° से झुका हुआANSWER - AShow Answer
20. Which characteristic enable the deflection of pointer in the attraction type moving iron meter?कौन सी विशेषता आकर्षण प्रकार के गतिशील लौह मीटर में पॉइंटर के विक्षेपण को सक्षम बनाती है? (A) Weight of the soft iron pieces सॉफ्ट आयरन के टुकड़ों का वजन (B) Deflection is inversely proportional to current विक्षेपण करंट के व्युत्क्रमानुपाती होता है (C) Deflection is independent of current direction विक्षेपण करंट की दिशा से स्वतंत्र है (D) Deflecting and controlling torques are unequal टार्क को विक्षेपित करना और नियंत्रित करना असमान होता हैANSWER - CShow Answer