Electronics Mechanic Sensors Transducers and Application Page-2 Question Bank

6.  Which sensor detects the presence of objects without any physical contact?
कौन सा सेंसर किसी भी भौतिक संपर्क के बिना वस्तुओं की उपस्थिति का पता लगाता है?

(A) LVDT
(B) Load cell
 लोड सेल
(C) Strain gauge
 स्ट्रेन गेज
(D) Proximity sensor
 प्रोक्सिमिटी सेंसर

7.  Which device is used to convert force into electrical signal?
कौन-सा उपकरण बल को विदयुत संकेत में परिवर्तित करने के लिए प्रयोग किया जाता है?

(A) Load cell
 लोड सेल
(B) Thermistor
 थर्मिस्टर
(C) Thermocouple
 थर्मोकपल
(D) Photoelectric sensor
 फोटोइलैक्ट्रिक सेंसर

8.  Which sensor is suitable for process temperature measurement of steel?
कौन सा सेंसर स्टील की प्रक्रिया तापमान माप के लिए उपयुक्त है?

(A) Thermistor
 थर्मिस्टर
(B) Strain gauge
 विकृति प्रमापक
(C) Thermocouple
 थर्मोकपल
(D) Capacitive transducer
 संधारित्र ट्रांसड्यूसर

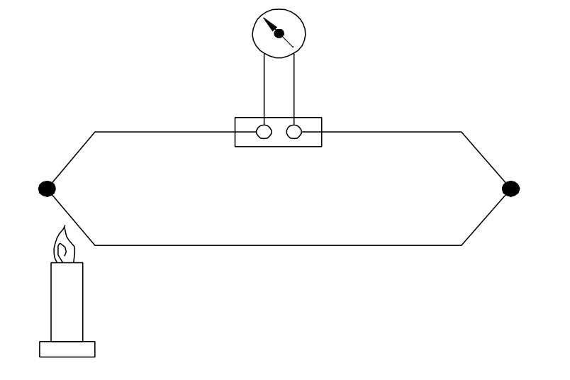
9.  Which test is conducted through the circuit shown in the figure?
चित्र में दर्शाए गए परिपथ के माध्यम से कौन सा परीक्षण किया जाता है?

(A) Sound control test
 ध्वनि नियंत्रण परीक्षण
(B) Speed control test
 गति नियंत्रण परीक्षण
(C) Temperature control test
 तापमान नियंत्रण परीक्षण
(D) Light level control test
 लाइट स्तर पर नियंत्रण परीक्षण

10.  What is the use of resistance hygrometer?
प्रतिरोध आर्द्रतामापी का उपयोग क्या है?

(A) To measure light intensity
 प्रकाश की तीव्रता को मापने के लिए
(B) To measure humidity
 नमी को मापने के लिए
(C) To measure temperature
 तापमान को मापने के लिए
(D) To measure pressure
 दबाव को मापने के लिए