1. Which type of jig does not have base plate?किस प्रकार के जिग में बेस प्लेट नहीं होती? [Bharat Skill QB] (A) Table jig टेबल जिग (B) Plate jig प्लेट जिग (C) Template jig टेम्पलेट जिग (D) Sandwich jig सैंडविच जिगANSWER - BShow Answer
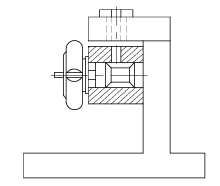
2. What is the name of jig?इस जिग का नाम क्या है? [Bharat Skill QB] (A) Leaf jig लीफ जिग (B) Solid jig सॉलिड जिग (C) Table jig टेबल जिग (D) Angle plate jig एंगल प्लेट जिगANSWER - DShow Answer
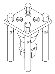
3. What is the name of the jig shown in the figure?चित्र में दिखाए गए जिग का नाम क्या है? [Bharat Skill QB] (A) Box jig बॉक्स जिग (B) Post jig पोस्ट जिग (C) Turn over jig टर्न ओवर जिग (D) Sandwich jig सैंडविच जिगANSWER - CShow Answer
4. What is the name of clamp?इस क्लैंप का नाम क्या है [Bharat Skill QB] (A) Strap clamp स्ट्रेप क्लैंप (B) Cam clamp कैम क्लैंप (C) Latch clamp लैच क्लैंप (D) Screw clamp स्क्रू क्लैंपANSWER - BShow Answer
5. What is the name of the fixture shown in the figure?चित्र में दिखाए गए उपकरण का नाम क्या है? [Bharat Skill QB] (A) Plate fixture प्लेट फिक्स्चर (B) Angel plate fixture एंगल प्लेट फिक्स्चर (C) Indexing plate fixture इंडेक्सिंग प्लेट फिक्स्चर (D) Modified angle plate fixture मॉडिफाइड एंगल प्लेट फिक्स्चरANSWER - DShow Answer