41. How bunching up of rolling elements avoided in the bearing assembly?बियरिंग असेंबली मे रोलिंग तत्वों का एक साथ गुच्छन होना कैसे रोका जाता है? [Bharat Skill QB] (A) By cage के ज के द्वारा (B) By grooves ग्रू वेस के द्वारा (C) By out race आउटर रेस के द्वारा (D) By inner race इनर रेस के द्वाराANSWER - AShow Answer
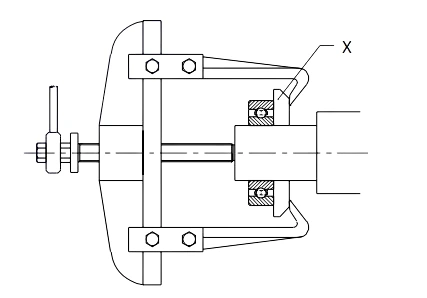
42. What is the name of the part marked as ʹXʹ shown in the figure?चित्र में दिखाए गए ʹXʹ से चिह्नित भाग का नाम क्या है? [NCVT Exam 24] (A) Puller पुलर (B) Leg लेग (C) Puller plate पुलर प्लेट (D) Bearing बियरिंगANSWER - CShow Answer
43. Which bearing material has less resistance to corrosion?किस बियरिंग पदार्थ में संक्षारण प्रतिरोध कम होता है? [NCVT Exam 24] (A) Aluminium alloy एल्यूमिनियम एलाय (B) Sintered alloy सिंटर्ड एलाय (C) White metal वाइट मेटल (D) Cadmium-based alloy कैडमियम बेस्ड एलायANSWER - DShow Answer
44. What is the purpose of double row ball bearing?डबल रो बॉल बेयरिंग का उद्देश्य क्या है? [NCVT Exam 24] (A) To carry axial load अक्षीय भार उठाने के लिए (B) To carry radial and thrust load रेडियल और थ्रस्ट भार उठाने के लिए (C) To carry bi-directional axial load द्वि-दिशात्मक अक्षीय भार वहन करने के लिए (D) To carry radial load रेडियल भार वहन करने के लिएANSWER - BShow Answer
45. What is the name of the bearing shown in the figure?चित्र में दिखाए गए बियरिंग का नाम क्या है? [NCVT Exam 24] (A) Double row ball bearing डबल रो बॉल बियरिंग (B) Self aligning ball bearing स्व-संरेखित बॉल बेयरिंग (C) Solid bearing सालिड बियरिंग (D) Single row ball bearing एकल पंक्ति बॉल बेयरिंगANSWER - BShow Answer