21. What is the colour of oxygen cylinder?ऑक्सीजन सिलेंडर का रंग क्या है? [Bharat Skill QB] (A) Red लाल (B) Blue नीला (C) Black काला (D) Maroon मैरूनANSWER - CShow Answer
22. What is the name of the part marked as "X"?"X" के रूप में चिह्नित भाग का नाम क्या है? [Bharat Skill QB] (A) Handle हैंडल (B) Mixing chamber मिश्रण कक्ष (मिक्सिंग चैम्बर) (C) Oxygen control value ऑक्सीजन नियंत्रण वाल्व (D) Acetylene control value एसिटिलीन नियंत्रण वाल्वANSWER - CShow Answer
23. What is the name of PPE?PPE का नाम क्या है? [Bharat Skill QB] (A) Portable screen पोर्टेबल स्क्रीन (B) Chipping goggles चिप्पिंग गॉगल (C) Welding hand screen हाथ वाली वेल्डिंग स्क्रीन (D) Welding helmet screen वेल्डिंग हेलमेट स्क्रीनANSWER - CShow Answer
24. What is the purpose of cellulosic electrode in arc welding process?आर्क वेल्डिंग प्रक्रिया में सेलुलोसिक इलेक्ट्रोड का उद्देश्य क्या है? [Bharat Skill QB] (A) Very easy to remove the deposited slag जमा हुआ स्लैग को हटाना बहुत आसान है (B) Used for high strength steel हाई स्ट्रेंथ स्टील के लिए इस्तेमाल किया जाता है (C) It is used for low carbon steel इसका उपयोग लो कार्बन स्टील के लिए किया जाता है (D) It is suitable for all position यह सभी स्थिति के लिए उपयुक्त हैANSWER - AShow Answer
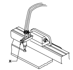
25. What is the name of the part marked as "X"?"X" के रूप में चिह्नित भाग का नाम क्या है? [Bharat Skill QB] (A) Preheat control valve प्रीहीट कन्ट्रोल वाल्व (B) Oxygen control valve ऑक्सीजन कन्ट्रोल वाल्व (C) Horizontal adjustment हॉरिजॉन्टल एडजस्टमेंट (D) Vertical adjustment वर्टीकल एडजस्टमेंटANSWER - DShow Answer