Electrician wires joints soldering UG cables Page-4 Question Bank

16.  What is the effect on molten solder due to repeated melting?
पिघले हुए सोल्डर को बार-बार पिघलाने से क्या प्रभाव पड़ता है?  [Bharat Skill Qb]

(A) Tin content reduced
 टिन का भाग कम हो जाता है
(B) Lead content reduced
 सीसे का भाग कम हो जाता है
(C) Prevent slug formation
 स्लग को बनने से रोक देता है
(D) Uneven flowing in joints
 जोड़ों पर असमान बहाव

17.  What will happen to PVC insulation in cable carries excess current continuously for long period?
केबल के PVC कुचालक का क्या होगा, यदि अत्यधिक धारा लम्बे समय तक बहती रहे?  [Bharat Skill Qb]

(A) Voltage drop increases
 वोल्टेज पात बढ़ेगा
(B) Voltage drop decreases
 वोल्टेज ड्राप घटेगा
(C) Insulation resistance increases
 कुचालक प्रतिरोध बढ़ेगा
(D) Insulation resistance decreases
 कुचालक प्रतिरोध घटेगा

18.  Which method of cable laying is suitable for congested areas?
केबल बिछाने की कौन सी विधि संकीर्ण क्षेत्रों हेतु उपयुक्त है?  [Bharat Skill Qb]

(A) Racks in air
 हवा में रैक
(B) Duct pipes
 डक्ट पाइप
(C) Along buildings
 भवनों के साथ
(D) Direct in ground
 सीधे ज़मीन में

19.  What is the name of the part marked "X" in UG cables?
इस भूमिगत केबल में "X" से इंगित भाग का नाम बताइए|  [Bharat Skill Qb]

(A) Serving
 सर्विंग
(B) Bedding
 बेडिंग
(C) Armouring
 आर्मरिंग
(D) Lead sheath
 लेड शीथ

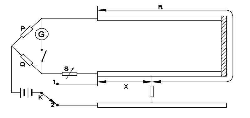
20.  What is the fault of U.G cable identified in the circuit?
भूमिगत केबल के किस प्रकार के दोष को ज्ञात किया जा सकता है?  [Bharat Skill Qb]

(A) Ground fault
 भू दोष
(B) Short circuit fault
 लघु परिपथ दोष
(C) Open circuit fault
 खुला परिपथ दोष
(D) Weak insulation fault
 कमज़ोर कुचालक दोष