Electrician wires joints soldering UG cables Page-8 Question Bank

36.  What is the name of the tool?
इस औजार का क्या नाम है?  [Bharat Skill Qb]

(A) Cutting plier
 कटिंग प्लायर
(B) Wire stripper
 वायर स्ट्रिपर
(C) Crimping tool
 क्रिम्पिंग टूल
(D) Side cutting plier
 साइड कटिंग प्लायर

37.  Which type of joint is used in over head lines for high tensile strength?
उच्च तन्यता हेतु शिरोपरि लाइन में कौन सा जोड़ उपयोग किया जाता है?  [Bharat Skill Qb]

(A) Scarfed joint
 स्कार्फड जोड़
(B) Britannia ‘T’ joint
 ब्रिटानिया 'T' जोड़
(C) Western union joint
 वेस्टर्न यूनियन जोड़
(D) Britannia straight joint
 ब्रिटानिया स्ट्रेट जोड़

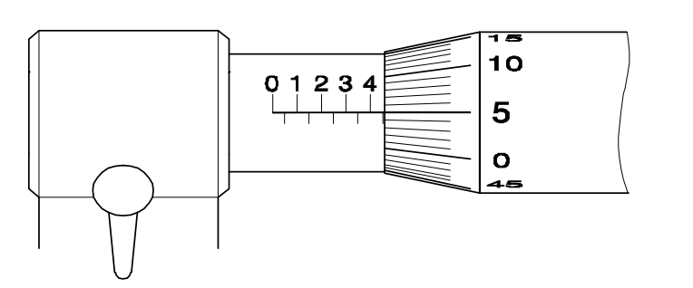
38.  What is the reading of the micrometer as shown in the figure?
चित्र में दर्शाए अनुसार माइक्रोमीटर का पाठ्यांक क्या है?  [Bharat Skill Qb]

(A) 5.05 mm
(B) 5.00 mm
(C) 4.55 mm
(D) 4.05 mm

39.  Which method of soldering is used for repairing the vehicle body?
वाहनों की बॉडी के सुधार हेतु सोल्डरिंग की कौन सी विधि प्रयोग की जाती है?  [Bharat Skill Qb]

(A) Dip soldering
 डिप सोल्डरिंग
(B) Soldering with flame
 ज्वाला के साथ सोल्डरिंग
(C) Soldering with soldering iron
 सोल्डरिंग आयरन के साथ सोल्डरिंग
(D) Soldering with soldering gun
 सोल्डरिंग गन के साथ सोल्डरिंग

40.  What is the advantage of stranded conductor over solid conductor?
गुथे हुए चालक का ठोस चालक की तुलना में क्या लाभ है?  [Bharat Skill Qb]

(A) Cost is less
 कम कीमत
(B) More flexible
 अधिक लचीला
(C) Less voltage drop
 कम वोल्टेज पात
(D) More insulation resistance
 अधिक कुचालक प्रतिरोध