Electrician AC three phase motor Page-12 Question Bank

56.  Calculate the number of coils /phase/ pole for a 3 phase double layer distributed winding for a motor having 36 slots, 36 coils and 4 poles.
36 स्लॉट्स, 36 कॉइल्स और 4 पोल वाले मोटर के लिए 3 कला डबल परत वितरित वाइंडिंग के लिए कॉइल की संख्या / कला / पोल की गणना करें?  [Bharat Skill QB]

(A) 3 coils /phase/ pole
(B) 6 coils / phase/pole
(C) 9 coils / phase/pole
(D) 12 coils/ phase/ pole

57.  Identify the type of rewinding process given below?
नीचे दी गई रिवाइंडिंग प्रक्रिया के प्रकार को पहचानें?  [Bharat Skill QB]

(A) Hand winding
 हाथ से लपेटना
(B) Skein winding
 स्कीइन वाइंडिंग
(C) Former winding
 फॉर्मर वाइंडिंग
(D) Machine winding
 मशीन वाइंडिंग

58.  Which type of starter is used to start and run the 3 phase slip ring induction motor?
3 फेज स्लिप रिंग इंडक्शन मोटर को शुरू करने और चलाने के लिए किस प्रकार के स्टार्टर का उपयोग किया जाता है?  [Bharat Skill QB]

(A) Direct on-line starter
 प्रत्यक्ष ऑन लाइन स्टार्टर
(B) Rotor rheostat starter
 रोटर रियोस्टैट स्टार्टर
(C) Auto transformer starter
 ऑटो ट्रांसफार्मर स्टार्टर
(D) Manual star-delta starter
 मैनुअल स्टार-डेल्टा स्टार्टर

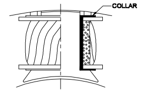
59.  What is the function of collar as shown in the figure?
जैसा कि चित्र में दिखाया गया है, कॉलर का क्या कार्य है?  [Bharat Skill QB]

(A) Provides insulation around field
 क्षेत्र के चारों ओर इन्सुलेशन प्रदान करता है
(B) Provides insulation for coil tapping
 कुंडल टेपिंग के लिए इन्सुलेशन प्रदान करता है
(C) Helps tightening material for flange
 निकले हुए किनारे के लिए सामग्री को कसने में मदद करता है
(D) Provides insulation for heat transfer from coil
 कुंडल से ऊष्मा स्थानांतरण के लिए इन्सुलेशन प्रदान करता है

60.  Which type of winding wire is used to wind submersible pump motors?
किस प्रकार के वाइंडिंग तार को सबमर्सिबल पंप मोटर्स को वाइंडिंग करने के लिए उपयोग किया जाता है?  [Bharat Skill QB]

(A) PVC covered type
 पीवीसी कवर प्रकार
(B) Terylene thread type
 टेरलीन थ्रेड प्रकार
(C) Super enamelled type
 सुपर एनामेल्ड टाइप
(D) Double cotton covered type
 डबल सूती कवर प्रकार