6. What is the range of specific gravity of lead-acid battery under discharged condition?डिस्चार्ज स्थिति में लेड-एसिड बैटरी के विशिष्ट गुरुत्व की सीमा क्या है? (A) 1.11 to 1.14 (B) 1.14 to 1.17 (C) 1.17 to 1.26 (D) 1.26 to 1.28ANSWER - AShow Answer
7. Which instrument is used for electrical insulation measurements?विद्युत इन्सुलेशन माप के लिए उपयोग किए जाने वाले उपकरण का नाम क्या है? (A) Megger मेगर (B) Ammeter एमिटर (C) Voltmeter वोल्टमीटर (D) Energy meter एनर्जी मीटरANSWER - AShow Answer
8. Which IC is used in the battery charging circuit of ON-Line UPS?ON-लाइन UPS के बैटरी चार्जिंग सर्किट में किस IC का उपयोग किया जाता है? (A) LM 317 (B) TL 494 (C) NE 555 (D) UA 741ANSWER - AShow Answer
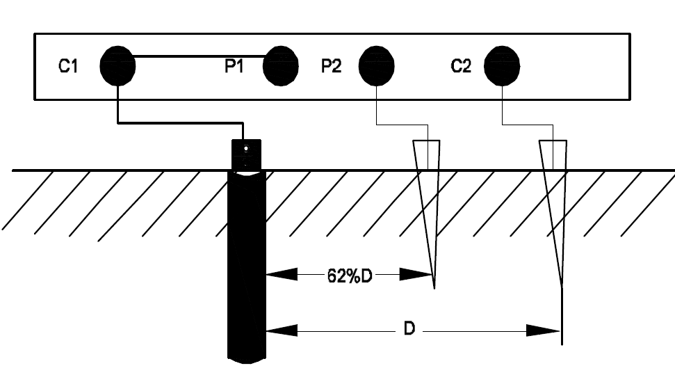
9. Which method of earth resistance measurement is experimented as shown in the figure?जैसा कि चित्र में दिखाया गया है, अर्थ प्रतिरोध माप की किस विधि का प्रयोग किया जाता है? (A) Two point method दो पॉइंट मेथड (B) Four point method फोर पॉइंट मेथड (C) Three point method थ्री पॉइंट मेथड (D) Single point method सिंगल पॉइंट मेथडANSWER - CShow Answer
10. What is the ambient temperature that should be maintained to extend the life of a UPS?यूपीएस के जीवन को बढ़ाने के लिए परिवेश का तापमान कितना बनाए रखा जाना चाहिए? (A) 10º C to 15º C (B) 15º C to 25º C (C) 25ºC to 30º C (D) 30ºC to 35º CANSWER - BShow Answer