51. What is the accuracy of a try square?एक ट्राई स्क्वायर की परिशुद्धता (एक्यूरेसी) क्या है? [Bharat Skill QB] (A) 0.02 mm per 10 mm length 0.02 मिमी प्रति 10 मिमी लंबाई (B) 0.004 mm per 10 mm length 0.004 मिमी प्रति 10 मिमी लंबाई (C) 0.002 mm per 10 mm length 0.002 मिमी प्रति 10 मिमी लंबाई (D) 0.001 mm per 10 mm length 0.001 मिमी प्रति 10 मिमी लंबाईANSWER - CShow Answer
52. Which punch is used for witness marks?निशान दिखने के लिए किस पंच का उपयोग किया जाता है? [Bharat Skill QB] (A) Dot punch डॉट पंच (B) Pin punch पिन पंच (C) Bell punch बेल पंच (D) Centre punch सेण्टर पंचANSWER - AShow Answer
53. What is the name of the caliper having one leg with an adjustable divider point and other leg is bent?उस कैलिपर का नाम बताए जिसकी एक टांग एडजस्टेबल डिवाइड पॉइंट और दूसरा टांग मुड़ा होती है? [Bharat Skill QB] (A) Jenny caliper जेनी कैलिपर (B) Inside caliper इनसाइड कैलीपर (C) Outside caliper आउटसाइड कैलीपर (D) Spring joint caliper स्प्रिंग ज्वाइंट कैलीपरANSWER - AShow Answer
54. What is the name of the part marked as ʹXʹ shown in the figure?सरफेस गेज में ʹXʹ के रूप में चिह्नित भाग का नाम क्या है? [Bharat Skill QB] (A) Nut नट (B) Snug स्नग (C) Spindle स्पिंडल (D) Scriber स्क्राइबरANSWER - BShow Answer
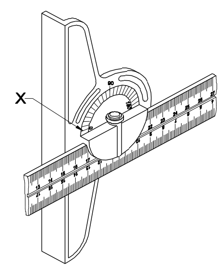
55. What is the name of part marked as "X" in combination set?संयोजन सेट (कॉम्बिनेशन सेट) में "X" के रूप में चिह्नित भाग का नाम क्या है? [Bharat Skill QB] (A) Bevel head बेवल हेड (B) Centre head सेण्टर हेड (C) Square head स्क्वायर हेड (D) Protractor head प्रोट्रेक्टर हेडANSWER - DShow Answer