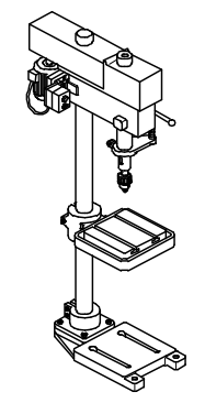
91. What is the name of the drilling machine shown in the figure?चित्र में दिखाए गए ड्रिलिंग मशीन का नाम क्या है? [Bharat Skill QB] (A) Pillar drilling machine पिलर ड्रिलिंग मशीन (B) Gang drilling machine गैंग ड्रिलिंग मशीन (C) Bench drilling machine बेंच ड्रिलिंग मशीन (D) Radial drilling machine रेडियल ड्रिलिंग मशीनANSWER - AShow Answer
92. What is the reading of an outside micrometer (British)?इस बाहरी माइक्रोमीटर (ब्रिटिश) की रीडिंग क्या है? [Bharat Skill QB] (A) 0.309” (B) 0.329” (C) 0.359” (D) 0.360”ANSWER - CShow Answer
93. What is the accuracy of Vernier bevel protractor?वर्नियर बेवेल प्रोट्रैक्टर की सटीकता क्या है? [Bharat Skill QB] (A) 1° (B) 5° (C) 5ʹ (D) 5"ANSWER - CShow Answer
94. What is the reading of vernier caliper?इस वर्नियर कैलिपर की रीडिंग क्या है? [Bharat Skill QB] (A) 30.20 mm (B) 30.40 mm (C) 35.20 mm (D) 35.50 mmANSWER - DShow Answer
95. Why surface plates are made of up of stress-relieved, good quality cast iron?सरफेस प्लेट तनाव-मुक्त, अच्छी गुणवत्ता वाले कास्ट आयरन से क्यों बनाई जाती हैं? [Bharat Skill QB] (A) To prevent corrosion क्षरण को रोकने के लिए (B) To prevent breaking टूटने से रोकने के लिए (C) To prevent distortion विकृति को रोकने के लिए (D) To prevent thermal expansion थर्मल विस्तार को रोकने के लिएANSWER - CShow Answer