66. What is the unit of cutting speed in drilling operation?ड्रिलिंग ऑपरेशन में काटने की गति (कटिंग स्पीड) की इकाई क्या है? [Bharat Skill QB] (A) m/ rev एम / रेव (B) mm/ rev मिमी / रेव (C) m/ min मी / मिनट (D) mm/ min मिमी / मिनटANSWER - CShow Answer
67. What is the name of part marked as "X" in drill?ड्रिल में "X" के रूप में चिह्नित भाग का नाम क्या है? [Bharat Skill QB] (A) Lip लिप (B) Land लैंड (C) Flank फ्लेंक (D) Web वेबANSWER - AShow Answer
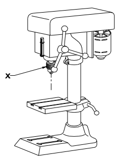
68. What is the name of part marked as "X" in drilling machine?ड्रिलिंग मशीन में "X" के रूप में चिह्नित भाग का नाम क्या है? [Bharat Skill QB] (A) Drill chuck ड्रिल चक (B) Feed handle फीड हैंडल (C) Driving motor ड्राइविंग मोटर (D) Depth gauge and stop डेप्थ गेज और स्टॉपANSWER - AShow Answer
69. What is the minor diameter of thread?थ्रेड का माइनर व्यास क्या है? [Bharat Skill QB] (A) Minor dia = Major dia – (2 x pitch) माइनर व्यास = मेजर व्यास - (2 x पिच) (B) Minor dia = Major dia + (2 x pitch) माइनर व्यास = मेजर व्यास + (2 x पिच) (C) Minor dia = Major dia + (2 x depth) माइनर व्यास = मेजर व्यास + (2 x गहराई) (D) Minor dia = Major dia – (2 x depth) माइनर व्यास = मेजर व्यास - (2 x गहराई)ANSWER - DShow Answer
70. What is the name of the part marked as "X"?"X" के रूप में चिह्नित भाग का नाम क्या है? [Bharat Skill QB] (A) Spindle स्पिंडल (B) Sleeve स्लीव (C) Thimble थिम्ब्ल (D) Spindle lock स्पिंडल लॉकANSWER - CShow Answer