66. Which term indicates the amount of bond present between the individual abrasive grains?कौन सा शब्द व्यक्तिगत अपघर्षक ग्रेन्स के बीच मौजूद बांड की मात्रा को इंगित करता है? [Bharat Skill QB] (A) Grain ग्रेन साइज़ (B) Grade ग्रेड (C) Abrasive एब्रेसिव (D) Structure संरचनाANSWER - DShow Answer
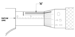
67. What is the name of division marked as ʹXʹ shown in the figure?चित्र में दिखाए गए ʹXʹ से चिह्नित डिवीजन का नाम क्या है? [Bharat Skill QB] (A) Barrel बैरल (B) Thimble थिम्बल (C) Datum line डेटम लाइन (D) Vernier division वर्नियर डिवीजनANSWER - DShow Answer
68. What is the name of the part marked as "X" of telescopic gauge?टेलिस्कोपेक गेज के "X" के रूप में चिह्नित भाग का नाम क्या है? [Bharat Skill QB] (A) Spring स्प्रिंग (B) Handle हेण्डल (C) Fixed leg फिक्स्ड लेग (D) Telescoping leg टेलिस्कोपिंग लेगANSWER - DShow Answer
69. What is the name of the tool?इस टूल का नाम क्या है? [Bharat Skill QB] (A) Reamer रीमर (B) Spot facing tool स्पॉट फेसिंग टूल (C) Countersink tool काउंटरसिंक टूल (D) Counter boring tool काउंटर बोरिंग टूलANSWER - CShow Answer
70. What is the name of the angle marked as "X" in drill bit?ड्रिल बिट में "X" के रूप में चिह्नित कोण का नाम क्या है? [Bharat Skill QB] (A) Helix angle हेलिक्स कोण (B) Lead angle लीड कोण (C) Point angle बिंदु कोण (D) Chisel edge angle छेनी का ऐज़ कोणANSWER - CShow Answer