6. What is the reason for over heated drill while drilling?ड्रिलिंग करते समय ड्रिल के ओवर हीट होने का क्या कारण है? [Bharat Skill QB] (A) Drill held not correctly ड्रिल सही ढंग से नहीं पकड़ी हुईहै (B) Work is not rigidly held कार्य को सख्ती से नही पकड़े हुई है (C) Clearance angle is incorrect क्लीयरेंस एंगल सही नहीं है (D) Flutes are clogged with chips चिप्स के कारण फ्लूटस ब्लॉक हो गयी हैANSWER - CShow Answer
7. Which operation enlarges a hole to a given depth?कौन सी प्रक्रिया किसी होल को एक निश्चित गहराई तक बड़ा करती है? [Bharat Skill QB] (A) Reaming रीमिंग (B) Spot facing स्पॉट फेसिंग (C) Counter boring काउंटर बोरिंग (D) Counter sinking काउंटर सिंकिंगANSWER - CShow Answer
8. What will happen if the clearance angle of drill is more?यदि ड्रिल का क्लीयरेंस कोण अधिक है?तो क्या होगा? [Bharat Skill QB] (A) Cutting edge will be blunt कटिंग एज ब्लंट होगी (B) Cutting edge will not be sharp कटिंग एज तेज नहीं होगी (C) Cutting edge will become weak कटिंग एज कमजोर हो जाएगा (D) Cutting edge will not cut material कटिंग एज मटेरियल को नहीं कटेगीANSWER - CShow Answer
9. What will happen if the spindle running out of centre while drilling?यदि ड्रिलिंग के दौरान स्पिण्डल केंद्र से बाहर चल रहा वो क्या होगा? [Bharat Skill QB] (A) Drill will break ड्रिल टूट जाएगा (B) Drills are over heated ड्रिल अधिक गर्म हो जाएगा (C) Drill make rough hole ड्रिल रफ होल बनाते हैं (D) Over sized holes are made अधिक आकार के छेद बन जाते हैंANSWER - DShow Answer
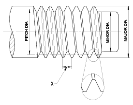
10. What is the name of the element marked as ʹXʹ shown in the figure?चित्र में दिखाए गए ʹXʹ से चिह्नित तत्व का नाम क्या है? [Bharat Skill QB] (A) Root रूट (B) Lead लीड (C) Pitch पिच (D) Flank फ्लेंकANSWER - CShow Answer