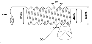
96. What is the name of part marked "X"?"X" से चिह्नित भाग का नाम क्या है? [Bharat Skill QB] (A) Root रूट (B) Pitch पिच (C) Crest क्रेस्ट (D) Helix angle हेलिक्स कोणANSWER - DShow Answer
97. What is to be done after mounting the new grinding wheel to run concentric?डाई स्टॉक में केंद्र स्क्रू क्यों प्रदान किया गया है? [Bharat Skill QB] (A) Truing ट्रूइंग (B) Glazing ग्लेजिंग (C) Loading लोडिंग (D) Dressing ड्रेसिंगANSWER - AShow Answer
98. What is the included angle of metric "V" threads?मीट्रिक "V" थ्रेड्स का सान्निहित कोण क्या है? [Bharat Skill QB] (A) 45° (B) 29° (C) 60° (D) 47½°ANSWER - CShow Answer
99. What ʹ46ʹ represent in standard marking system of grinding wheel (32A46H8V)?ग्राइंडिंग व्हील (32A46H8V) के मानक अंकन प्रणाली में 46 'क्या दर्शाता है? [Bharat Skill QB] (A) Grade ग्रेड (B) Grain size ग्रेन साइज़ (C) Type of bond बंधन का प्रकार (D) Type of abrasive अपघर्षक का प्रकारANSWER - BShow Answer
100. What is the tool used in grinding operation?ग्राइंडिंग ऑपरेशन में प्रयुक्त उपकरण क्या है? [Bharat Skill QB] (A) Honing tool होनिंग टूल (B) Abrasive stick घर्षण छड़ी (C) Diamond dressers डायमंड ड्रेसर (D) Star wheel dressers स्टार व्हील ड्रेसरANSWER - CShow Answer