86. What is the name of the pipe fitting symbol shown in the figure?चित्र में दिखाए गए पाइप फिटिंग प्रतीक का नाम क्या है? [NCVT Exam 24] (A) Elbow एल्बो (B) Cross क्रॉस (C) Socket सॉकेट (D) Plug प्लगANSWER - CShow Answer
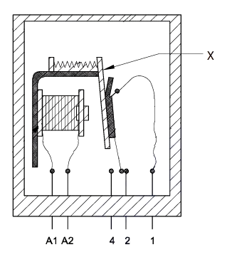
87. What is the name of the part marked as ʹxʹ shown in the figure?चित्र में दिखाए गए 'x' से चिह्नित भाग का नाम क्या है? [NCVT Exam 24] (A) Armature आर्मेचर (B) Return spring रिटर्न स्प्रिंग (C) Contact terminal टर्मिनल से संपर्क करें (D) Coil core कुंडल कोरANSWER - AShow Answer
88. What is the name of the hydraulic pump shown in the figure?चित्र में दिखाए गए हाइड्रोलिक पंप का नाम क्या है? [NCVT Exam 24] (A) Radial piston pump रेडियल पिस्टन पंप (B) Axial piston pump एक्सियल पिस्टन पंप (C) Vane pump वेन पम्प (D) Bent axis piston pump बेंट एक्सिस पिस्टन पंपANSWER - BShow Answer
89. What is the name of the position of electro pneumatic push button in the change over condition shown in the figure?चित्र में दर्शाई गई परिवर्तन स्थिति में इलेक्ट्रो न्यूमेटिक पुश बटन की स्थिति का नाम क्या है? [NCVT Exam 24] (A) Actuated position सक्रिय स्थिति (B) Normal position सामान्य स्थिति (C) Vertical position ऊर्ध्वाधर स्थिति (D) Horizontal position क्षैतिज स्थितिANSWER - AShow Answer
90. What is the name of the hydraulic pump shown in the figure?चित्र में दिखाए गए हाइड्रोलिक पंप का नाम क्या है? [NCVT Exam 25] (A) Radial piston pump रेडियल पिस्टन पंप (B) Axial piston pump एक्सियल पिस्टन पंप (C) Bent axis piston pump बेंट एक्सिस पिस्टन पंप (D) Vane pump वेन पंपANSWER - AShow Answer