26. What is the name of pneumatic valve symbol?वायवीय वाल्व प्रतीक का नाम क्या है? [Bharat Skill QB] (A) Directional control valve दिशात्मक नियंत्रण वाल्व (B) Roller valve रोलर वाल्व (C) Pressure valve प्रेशर वाल्व (D) Flow control valve प्रवाह नियंत्रण वाल्वANSWER - AShow Answer
27. What is the name of pneumatic symbol?इस न्यूमेटिक प्रतीक का नाम क्या है? [Bharat Skill QB] (A) Filter फ़िल्टर (B) Lubricator लूब्रकेटर (C) Dryer ड्रायर (D) Pressure gauge प्रेशर गेजANSWER - BShow Answer
28. What is the name of the valve shown in the figure?चित्र में दिखाए गए वाल्व का नाम क्या है? [Bharat Skill QB] (A) 5 port 2 position valve 5 पोर्ट 2 पोजीशन वाल्व (B) 3 port 2 position valve 3 पोर्ट 2 पोजीशन वाल्व (C) 4 port 3 position valve 4 पोर्ट 3 पोजीशन वाल्व (D) 4 port 2 position valve 4 पोर्ट 2 पोजीशन वाल्वANSWER - AShow Answer
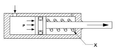
29. What is the name of part marked as "X"?"X" के रूप में चिह्नित भाग का नाम क्या है? [Bharat Skill QB] (A) Cylinder सिलेंडर (B) Piston पिस्टन (C) Spring स्प्रिंग (D) Inlet port इनलेट पोर्टANSWER - CShow Answer
30. What is the name of the part marked as ʹXʹ shown in the figure?चित्र में दिखाए गए ʹXʹ से चिह्नित भाग का नाम क्या है? [Bharat Skill QB] (A) Cylinder सिलेंडर (B) Piston पिस्टन (C) Seal सील (D) Spring स्प्रिंगANSWER - BShow Answer