16. What is the name of the pipe line symbol shown in the figure?चित्र में दर्शाए गए पाइप लाइन प्रतीक का नाम क्या है? [Bharat Skill QB] (A) Socket सॉकेट (B) Plug or cap प्लग या कैप (C) Union screwed यूनियन स्क्रूड (D) Reducer concentric रिडूसर कन्सेन्ट्रिकANSWER - DShow Answer
17. What is the type of visual pipe inspection at 30° angle between the plane of vision and surface?दृष्टि और सतह के विमान के बीच 30 ° कोण पर दृश्य पाइप निरीक्षण किस प्रकार का है? [Bharat Skill QB] (A) Direct visual testing प्रत्यक्ष दृश्य परीक्षण (B) Remote visual testing दूरस्थ दृश्य परीक्षण (C) Translucent visual testing पारभासी दृश्य परीक्षण (D) Transparent visual testing पारदर्शी दृश्य परीक्षणANSWER - AShow Answer
18. Where concentric reducer is used in pipeline?पाइप लाइन में कन्सेन्ट्रिक रेड्यूसर कहाँ उपयोग होता है? [Bharat Skill QB] (A) Vertical वर्टीकल (B) Horizontal हॉरिजॉन्टल (C) Reduce the pressure दबाव कम करना (D) Drive the flow direction प्रवाह दिशा को चलाएंANSWER - AShow Answer
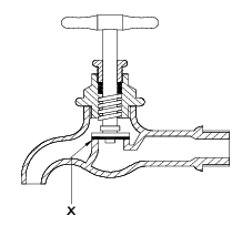
19. What is the name of part marked as "X" in water tap?पानी के नल में "X" के रूप में चिह्नित भाग का नाम क्या है? [Bharat Skill QB] (A) Handle हैंडल (B) Bonnet बोनट (C) Gland nut ग्लैंड नट (D) Valve seat वाल्व सीटANSWER - DShow Answer
20. Which valve permits fluid flow in only one direction?कौन सा वाल्व द्रव को केवल एक दिशा में प्रवाहित करने की अनुमति देता है? [Bharat Skill QB] (A) Flow control valve फ्लो कंट्रोल वाल्व (B) Needle valve नीडल वाल्व (C) Non-return valve नॉन रिटर्न वाल्व (D) Pressure regulator valve प्रेशर रेगुलेटर वाल्वANSWER - CShow Answer