21. Which type of wrench is used on finished tubular surface?फिनिज्ड ट्यूबलर सतह पर किस प्रकार के रेन्च का उपयोग किया जाता है? [Bharat Skill QB] (A) Strap wrench स्ट्रैप रेन्च (B) Foot point wrench फुट प्वाइंट रेन्च (C) Chain pipe wrench चेन पाइप रेन्च (D) Stillson pipe wrench स्टिलसन पाइप रेन्चANSWER - AShow Answer
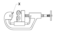
22. What is the name of the part marked as ʹXʹ shown in the figure?चित्र में दिखाए गए ʹXʹसे चिह्नित भाग का नाम क्या है? [Bharat Skill QB] (A) Cutter wheel कटर व्हील (B) Adjusting screw अजस्टिंग स्क्रू (C) Guide rollers गाइड रोलर्स (D) Hand lever हैण्ड लीवरANSWER - AShow Answer
23. What is the capacity of the pipe vice to hold pipes diameter in mm?पाइप वाईस कितने मिलीमीटर व्यास के पाइपो को पकड़ने की क्षमता रखता है? [Bharat Skill QB] (A) 68 mm 68 मिमी (B) 65 mm 65 मिमी (C) 63 mm 63 मिमी (D) 72 mm 72 मिमीANSWER - CShow Answer
24. What is the type of wrench?ये रेन्च किस प्रकार क्या है? [Bharat Skill QB] (A) footprint wrench फूटप्रिंट रेन्च (B) strap wrench स्ट्रैप रेन्च (C) chain pipe wrench चेन पाइप रेन्च (D) pipe wrench पाइप रेन्चANSWER - BShow Answer
25. What is the minimum diameter of pipe used with chain wrench?चेन रेन्च के साथ उपयोग किए जाने वाले पाइप का न्यूनतम व्यास क्या है? [Bharat Skill QB] (A) 25 mm 25 मिमी (B) 50 mm 50 मिमी (C) 30 mm 30 मिमी (D) 45 mm 45 मिमीANSWER - BShow Answer