26. What is the range of external pipe threads cut by pipe dies?पाइप डाई द्वारा काटे जाने वाले बाहरी पाइप थ्रेड्स की सीमा क्या होती है? [Bharat Skill QB] (A) ½” to 4” ½” से 4" (B) ¼” to 4” ½” से 4" (C) 1/8” to 2” 1/8 "से 2" (D) ¼” to 6” ¼” से 6"ANSWER - BShow Answer
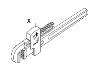
27. What is the name of the part marked as ʹxʹ shown in the figure?चित्र में दिखाए गए ʹxʹ से चिह्नित भाग का नाम क्या है? [Bharat Skill QB] (A) Pivot पिवोट (B) Spring स्प्रिंग (C) Movable jaw मूवेबल जॉ (D) Adjusting nut एडजस्टिंग नटANSWER - DShow Answer
28. Which pipe fitting is used to divert the flow direction of pipe?पाइप के प्रवाह की दिशा को मोड़ने के लिए किस पाइप फिटिंग का उपयोग किया जाता है? [Bharat Skill QB] (A) Union यूनियन (B) Plug प्लग (C) Elbow एल्बो (D) Coupling कपलिंगANSWER - CShow Answer
29. What is the pipe fitting of 90° and its branches may be equal in diameter?किस पाइप फिटिंग मे 90 ° और शाखाएं व्यास में समान हो सकती हैं? [Bharat Skill QB] (A) Tee joint टी जॉइंट (B) Elbow joint एल्बो जॉइंट (C) Coupling joint कपलिंग जॉइंट (D) Union joint यूनियन जॉइंटANSWER - AShow Answer
30. What is the pipe fitting?यह पाइप फिटिंग क्या है? [Bharat Skill QB] (A) Reducer रिडूसर (B) Nipple निप्पल (C) Cap कैप (D) Plug प्लगANSWER - CShow Answer