1. What is the formula to calculate the slip speed (Nslip) of 3 phase squirrel cage in induction motor?इंडक्शन मोटर में 3 फेज स्क्विरल केज की स्लिप गति (Nslip) की गणना करने का फॉर्मूला क्या है? [Bharat Skill QB] (A) (B) (C) (D) ANSWER - AShow Answer
2. What is the name of the control circuit as shown in the figure?चित्र में दिखाए अनुसार नियंत्रण सर्किट का नाम क्या है? [Bharat Skill QB] (A) Jogging control circuit with selector switch चयनकर्ता स्विच के साथ जॉगिंग कन्ट्रोल सर्किट (B) Inching control circuit with push motor पुश मोटर के साथ इंचिंग कन्ट्रोल सर्किट (C) Remote control circuit रिमोट कंट्रोल सर्किट (D) Jog control using a relay रिले का उपयोग करके जॉग कन्ट्रोलANSWER - AShow Answer
3. Which formula is used to calculate the total electrical degree in stator of an A.C motor?A.C मोटर के स्टेटर में कुल विधुत डिग्री की गणना करने के लिए किस सूत्र का उपयोग किया जाता है? [Bharat Skill QB] (A) Total electrical degree = 180° / No. of slots (B) Total electrical degree = 180° × No. of slots (C) Total electrical degree = 180° / No. of poles (D) Total electrical degree = 180° × No. of polesANSWER - DShow Answer
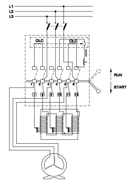
4. What is the name of the A.C motor starter?A.C मोटर स्टार्टर का नाम क्या है? [Bharat Skill QB] (A) DOL starter DOL स्टार्टर (B) Auto transformer starter ऑटो ट्रांसफार्मर स्टार्टर (C) Semi automatic star delta starter अर्ध स्वचालित स्टार डेल्टा स्टार्टर (D) Fully automatic star delta starter पूर्ण स्वचालित स्टार डेल्टा स्टार्टरANSWER - BShow Answer
5. What is the formula to find synchronous speed of a A.C 3 phase induction motor?ए सी 3 कला प्रेरण मोटर की तुल्यकालिक गति ज्ञात करने का सूत्र क्या है? [Bharat Skill QB] (A) Synchronous speed =120F/P (B) Synchronous speed =120P/F (C) Synchronous speed =120/PF (D) Synchronous speed = PF/120ANSWER - AShow Answer