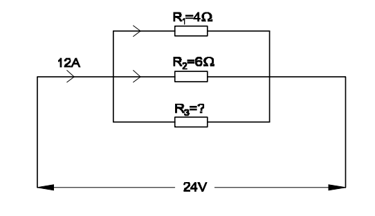
26. Calculate the resistance value in R3 resistor.R3 प्रतिरोधक में प्रतिरोध का मान बताइए [Bharat Skill Qb] (A) 4 Ohm (B) 6 Ohm (C) 8 Ohm (D) 12 OhmANSWER - DShow Answer
27. What is the effect of the circuit, if points ʹabʹ are shorted as shown in the figure?यदि बिन्दु ʹabʹ को चित्र में दर्शाए अनुसार शॉर्ट कर दिया जाए तो परिपथ का प्रभाव क्या होगा? [Bharat Skill Qb] (A) Circuit resistance will be zero सर्किट प्रतिरोध शून्य हो जाएगा (B) Same current will flow in all branches सभी शाखाओं में समान धारा बहेगी (C) Supply voltage will exist in each branch प्रत्येक शाखा में आपूर्ति वोल्टेज रहेगा (D) Each branch current is equal to total current प्रत्येक शाखा धारा कुल धारा के बराबर होगीANSWER - AShow Answer
28. What is the name of the resistor if its resistance value increase with increase in temperature?यदि तापमान में वृद्धि के साथ इसका प्रतिरोध मान बढ़ता है, तो प्रतिरोध का नाम क्या है? [Bharat Skill Qb] (A) Varistors वैरिस्टर (B) Sensistors सेंसिस्टर (C) Thermistors थर्मिस्टर (D) Light Dependent Resistor (LDR) लाइट डिपेंडेंट रेसिस्टरANSWER - BShow Answer
29. What is the formula for Quantity of electricity (Q)?विद्युत मात्रा का सूत्र क्या है? [Bharat Skill Qb] (A) Current × Time धारा × समय (B) Voltage × Current वोल्टेज × धारा (C) Current × Resistance धारा × प्रतिरोध (D) Voltage × Resistance वोल्टेज × प्रतिरोधANSWER - AShow Answer
30. What is the unit of conductance?चालकता की इकाई क्या है? [Bharat Skill Qb] (A) Mho (B) Ohm (C) Ohm-m (D) Ohm/mANSWER - AShow Answer