81. What is the use of ring gauge?रिंग गेज का उपयोग क्या है? [Bharat Skill QB] (A) Check hole diameter छेद व्यास की जाँच करना (B) Check shaft diameter बाहरी व्यास की जाँच करना (C) Check tapered shaft diameter टेपर शाफ्ट व्यास की जाँच करना (D) Check internal thread diameter आंतरिक थ्रेड व्यास की जाँच करनाANSWER - BShow Answer
82. Which gauge is used to check the accuracy of an internal thread?आंतरिक धागे की सटीकता की जाँच करने के लिए किस गेज का उपयोग किया जाता है? [Bharat Skill QB] (A) Ring gauge रिंग गेज (B) Snap gauge स्नैप गेज (C) Thread ring gauge थ्रेड रिंग गेज (D) Centre gauge सेंटर गेजANSWER - CShow Answer
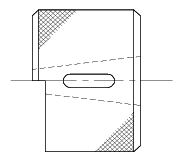
83. What is the name of the gauge shown in the figure?चित्र में दिखाए गए गेज का नाम क्या है? [Bharat Skill QB] (A) Ring gauge रिंग गेज (B) Snap gauge स्नैप गेज (C) Taper ring gauge टेपर रिंग गेज (D) Thread plug gauge थ्रेड प्लग गेजANSWER - CShow Answer
84. What is the procedure to select the slip gauge for particular dimension?विशेष आयाम के लिए स्लिप गेज का निर्माण करने की प्रक्रिया क्या है? [Bharat Skill QB] (A) Built with grade accuracy ग्रेड एक्यूरेसी के साथ बनाया गया (B) Minimum number of blocks ब्लॉक की न्यूनतम संख्या (C) Maximum number of block ब्लॉक की अधिकतम संख्या (D) Start wringing with small size slip gauge छोटी स्लिप गेज से व्रिन्गिंग शुरू करेंANSWER - DShow Answer
85. Which process improves the quality of fit between the mating components?कौन सी प्रक्रिया मिलने वाले घटकों के बीच फिट की गुणवत्ता में सुधार करती है? [Bharat Skill QB] (A) Filing फाइलिंग (B) Turning टर्निंग (C) Grinding ग्राइंडिंग (D) Lapping लैपिंगANSWER - DShow Answer