111. What is the name of the gauge shown in the figure?चित्र में दिखाए गए गेज का नाम क्या है? [Bharat Skill QB] (A) Taper gauge टेपर गेज (B) Snap gauge स्नैप गेज (C) Progressive plug gauge प्रोग्रेसिव प्लग गेज (D) Double end plug gauge डबल एंड प्लग गेजANSWER - BShow Answer
112. What is the use of drill gauge?ड्रिल गेज का उपयोग क्या है? [Bharat Skill QB] (A) Check the diameter of the drill ड्रिल के व्यास की जाँच करना (B) Check the length of the drill ड्रिल की लंबाई की जाँच करना (C) Check the cutting angle of the drill ड्रिल के कटिंग एंगल की जाँच करना (D) Check the lip length लिप्स की लंबाई की जाँच करनाANSWER - AShow Answer
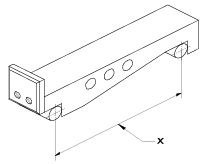
113. What is the name of the part marked as ʹXʹ shown in the figure?चित्र में दिखाए गए ʹXʹ से चिह्नित भाग का नाम क्या है? [Bharat Skill QB] (A) Length of sine bar साइन बार की लंबाई (B) Drilled holes ड्रिल किए गए होल (C) Contact rollers कांटेक्ट रोलर्स (D) Width चौड़ाईANSWER - AShow Answer
114. What is the name of the part marked as ʹXʹ shown in the figure?चित्र में दिखाए गए ʹXʹ से चिह्नित भाग का नाम क्या है? [Bharat Skill QB] (A) Height of slip gauge स्लिप गेज की ऊँचाई (B) Length of sine bar साइन बार की लंबाई (C) Datum surface डैटम सरफेस (D) Adjacent side एजैसन्ट साइडANSWER - AShow Answer
115. What is the name of gauge?इस गेज का नाम क्या है? [Bharat Skill QB] (A) Screw pitch gauge स्क्रू पिच गेज (B) Angle gauge एंगल गेज (C) Slip gauge स्लिप गेज (D) Centre gauge सेण्टर गेजANSWER - DShow Answer