26. Which gauge is used to check the accuracy of an external thread?बाहरी चूड़ी की सटीकता की जाँच करने के लिए किस गेज का उपयोग किया जाता है? [Bharat Skill QB] (A) Snap gauge स्नैप गेज (B) Thread ring gauge थ्रेड रिंग गेज (C) Thread plug gauge थ्रेड प्लग गेज (D) Centre gauge सेंटर गेजANSWER - BShow Answer
27. Which instrument is used in measuring the external diameter shown in the figure?चित्र में दिखाए गए बाहरी व्यास को मापने में किस उपकरण का उपयोग किया जाता है? [Bharat Skill QB] (A) Vernier caliper वर्नियर कैलीपर्स (B) Outside caliper आउटसाइड कैलिपर (C) Parallel leg caliper पैरेलल लेग कैलिपर (D) Pair of special jaws by using slip gauge स्लिप गेज का उपयोग करके विशेष जबड़े की जोड़ीANSWER - DShow Answer
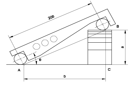
28. Find out the height of slip gauge "a"?(sin 25° = 0.4226)स्लिप गेज "a" की ऊँचाई ज्ञात कीजिए? (sin 25 ° =0.4226) [Bharat Skill QB] (A) 84.50 mm 84.50 मिमी (B) 84.52 mm 84.52 मिमी (C) 84.51 mm 84.51 मि.मी. (D) 85.20 mm 85.20 मिमीANSWER - BShow Answer
29. How many set of feeler gauges are available as per BIS?फीलर गेज के कितने सेट होते हैं? [Bharat Skill QB] (A) Set No: 1, 2 2 सेट (B) Set No: 1, 2, 3, 4 4 सेट (C) Set No: 1, 2, 3, 4,5 5 सेट (D) Set No: 1, 2, 3,4, 5, 6 6 सेटANSWER - BShow Answer
30. What material is used to make radius and fillet gauge?रेडियस और फिलेट गेज बनाने के लिए किस मटेरियल का उपयोग किया जाता है? [Bharat Skill QB] (A) Tool steel टूल स्टील (B) Hardened steel sheet कठोर इस्पात (C) High carbon steel उच्च कार्बन स्टील (D) Medium carbon steel मध्यम कार्बन स्टीलANSWER - BShow Answer