86. Which abrasive is used for lapping hardened steel and cast iron?नरम स्टील और अलौह धातुओं के लैपिंग के लिए किस अपघर्षक का उपयोग किया जाता है? [Bharat Skill QB] (A) Silicon carbide सिलिकॉन कार्बाइड (B) Boron carbide बोरान कार्बाइड (C) Aluminium oxide अल्यूमिनियम ऑक्साइड (D) Fused aluminum फ़्यूज्ड एल्यूमीनियमANSWER - AShow Answer
87. Which finishing operation is performed by the tool that rotate and reciprocate simultaniously?कौन सा परिष्करण ऑपरेशन मे, टूल साथ- साथ मे रोटेट और रेसिप्रोकेट करता है? [Bharat Skill QB] (A) Drilling ड्रिलिंग (B) Honing होनिंग (C) Lapping लैपिंग (D) Grinding ग्राइंडिंगANSWER - BShow Answer
88. Why holes are provided in ring type lapping?रिंग प्रकार के लैप में छेद क्यों प्रदान किए जाते हैं? [Bharat Skill QB] (A) Lubrication स्नेहन के लिए (B) Removal of heat गर्मी को दूर करना (C) Hold lapping compound लैप कंपाउंड को पकड़ने के लिए (D) Increase the efficiency दक्षता बढ़ाएंANSWER - CShow Answer
89. Which type of key has one face curvature to match shaft surface?शाफ्ट सतह से प्रतियोगिता के लिए किस प्रकार कि की में अग्रभाग वक्रता है? [Bharat Skill QB] (A) Sunk key संक की (B) Flat saddle key फ्लैट सैडल की (C) Circular taper key सर्कुलर टेपर की (D) Hallow saddle key होलो सैडल कीANSWER - DShow Answer
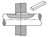
90. What is the name of key?इस की का नाम क्या है? [Bharat Skill QB] (A) Parallel sunk key पैरेलल संक की (B) Gib head key गिब हेड की (C) Wood ruff key वूडरफ की (D) Tapper sunk key टेपर संक कीANSWER - AShow Answer