46. What is the reason for faulty rivetting?दोषपूर्ण रिवेटिंग के कारण क्या है? [Bharat Skill QB] (A) Burrs between plates प्लेटों के बीच में बर्र (B) Too little allowance given बहुत कम अलाउंस दिया जाता है (C) Improper joining of plates प्लेटों का अनुचित जुड़ाव (D) Too much allowance given बहुत ज्यादा अलाउंस दिया जाता हैANSWER - CShow Answer
47. How the distance of first rivet is determined from the side edge?साइड किनारे से पहली रिवेट की दूरी कैसे निर्धारित की जाती है? [Bharat Skill QB] (A) 3 x dia of rivet 3 x रिवेट का व्यास (B) 2 x dia of rivet 2 x रिवेट का व्यास (C) 2.5 x dia of rivet 2.5 x रिवेट का व्यास (D) 3.5 x dia of rivet 3.5 x रिवेट का व्यासANSWER - BShow Answer
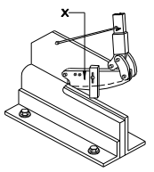
48. What is the name of the part marked as ʹXʹ shown in the figure?चित्र में दिखाए गए ʹXʹ से चिह्नित हिस्से का नाम क्या है? [Bharat Skill QB] (A) Clamp क्लैंप (B) Lever arm लिवर आर्म (C) Lower blade लोअर ब्लेड (D) Upper blade अपर ब्लेडANSWER - DShow Answer
49. What is the advantage of stakes in sheet metal work?शीट मेटल वर्क में स्टेक का क्या लाभ है? [Bharat Skill QB] (A) Sharpening तेज़ करना (B) Supporting सहायता प्रदान करना (C) Rest of workpiece रेस्ट ऑफ़ वर्क पीस (D) Protect the tool from damage उपकरण को नुकसान से बचाएंANSWER - BShow Answer
50. What is the tool marked as "X" in riveting?रिवेटिंग में "X" के रूप में चिह्नित उपकरण क्या है? [Bharat Skill QB] (A) Dolly डॉली (B) Rivet set रिवेट सेट (C) Fullering tool फुल्लेरिंग टूल (D) Caulking tool कॉकिंग टूलANSWER - DShow Answer