21. Name the riveting defect shown?दिखाए गए रिवेटिंग दोष का नाम बताएं? [Bharat Skill QB] (A) Improper joining of plates प्लेटों के अनुचित जुड़ाव (B) Burrs between plates प्लेटों के बीच में बर्र (C) Rivet head not centred with the shank रिवेट का सिरा शेंक के साथ केंद्रित नहीं है (D) Body of the rivet not perpendicular to the plate रिवेट का शरीर प्लेट के लंबवत नहीं हैANSWER - CShow Answer
22. Which tool used in sheet metal work to scribe a circle or arc with a large diameter?शीट मेटल में किस उपकरण का उपयोग एक बड़े व्यास का एक सर्कल या चाप बनाने के लिए किया जाता है? [Bharat Skill QB] (A) Spring compass स्प्रिंग कंपास (B) Trammel ट्रैमल (C) Wing compass विंग कम्पास (D) Ordinary compass साधारण कम्पासANSWER - BShow Answer
23. Why burr form on the underside of the sheet metal while shearing?शियरइंग करते समय शीट धातु के नीचे की तरफ बर्र क्यों बन जाता है? [Bharat Skill QB] (A) No clearance क्लीयरेंस ना होने के कारण (B) Hardened metal हार्डएनेड धातु के कारण (C) Increase in force बल में वृद्धि के कारण (D) Excessive clearance अत्यधिक क्लीयरेंस के कारणANSWER - DShow Answer
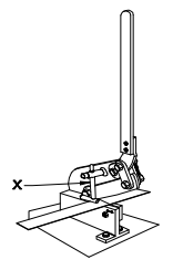
24. What is the name of part marked "X"?भाग "X" का नाम क्या है? [Bharat Skill QB] (A) Body बॉडी (B) Clamp क्लैंप (C) Upper blade ऊपरी ब्लेड (D) Lower blade निचली ब्लेडANSWER - BShow Answer
25. What is the use of groover in sheet metal work?शीट मेटल के कार्य में ग्रोवर का उपयोग क्या है? [Bharat Skill QB] (A) Releasing of seam सीम को रिलीज़ करना (B) Compress the seam सीवन को कॉम्प्रेस करना (C) Closing of seam सीम को क्लोज (D) Stress relieving during seam operation सीम ऑपरेशन के दौरान स्ट्रेस से राहतANSWER - CShow Answer