Fitter sheet metal Page-2 Question Bank

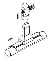
6.  Name the part of lever shear marked as "X".
लीवर शियर के इस भाग का नाम बताए जो "X" के रूप में चिह्नित करें।  [Bharat Skill QB]

(A) Base plate
 बेस प्लेट
(B) Lever arm
 लिवर आर्म
(C) Lower blade
 निचला ब्लेड
(D) Upper blade
 ऊपरी ब्लेड

7.  Name the sheet metal operation.
इस शीट मेटल ऑपरेशन का नाम बताए।  [Bharat Skill QB]

(A) Grooving
 ग्रूविंग
(B) Notching
 नौचिंग
(C) Bending
 बेडिंग
(D) Folding
 फोल्डिंग

8.  What is the other name of zinc coated iron?
जिंक लेपित लोहे का दूसरा नाम क्या है?  [Bharat Skill QB]

(A) Black iron
 काला लोहा
(B) Tinned iron
 टिनड आयरन
(C) Stainless steel
 स्टेनलेस स्टील
(D) Galvanised iron
 जस्ता चढ़ा हुआ लोहा (गैल्वनाइज्ड आयरन)

9.  Calculate the weight of steel plate having length of 2000 mm, width of 500 mm, thickness of 4 mm and density of 7.85 g/cm3.
2000 मिमी की लंबाई, 500 मिमी की चौड़ाई, 4 मिमी की मोटाई और 7.85 ग्राम / सेमी 3 की घनत्व वाले स्टील प्लेट के वजन की गणना करें।  [Bharat Skill QB]

(A) 21.4 Kg
 21.4 किलोग्राम
(B) 31.4 Kg
 31.4 किग्रा
(C) 41.4 Kg
 41.4 किग्रा
(D) 50.4 kg
 50.4 किग्रा

10.  Which sheet metal is highly resistant to corrosion and abrasion?
जंग और घर्षण के लिए कौन सी शीट धातु अत्यधिक प्रतिरोधी है?  [Bharat Skill QB]

(A) Copper
 तांबा
(B) Black iron
 काला लोहा
(C) Aluminium
 एǐयु मीनियम
(D) Galvanised iron
 जस्ता लोहा