16. What is the material used to manufacture rivets?रिवेट के निर्माण के लिए उपयोग की जाने वाली सामग्री क्या है? [Bharat Skill QB] (A) Rubber रबर (B) Synthetic कृत्रिम (C) Hardened steel हार्डेन स्टील (D) Mild steel माइल्ड स्टीलANSWER - DShow Answer
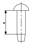
17. What is the name of the part marked as ʹXʹ shown in the figure?चित्र में दिखाए गए "X" से चिह्नित भाग का नाम क्या है? [Bharat Skill QB] (A) Tail टेल (B) Body बॉडी (C) Head हेड (D) Diameter व्यासANSWER - BShow Answer
18. Which is the operation of covering area of the metal with molten solder?पिघला हुआ सोल्डर के साथ धातु के क्षेत्र को कवर करने वाला ऑपरेशन का नाम है? [Bharat Skill QB] (A) Pickling पिक्लिंग (B) Swaging स्वगिंग (C) Seaming सीमइंग (D) Tinning टिनइंगANSWER - DShow Answer
19. Which rivet is used in heavy structural work?भारी संरचनात्मक कार्य में किस रिवेट का उपयोग किया जाता है? [Bharat Skill QB] (A) Pan head rivet पैन हेड रिवेट (B) Snap head rivet स्नेप हेड रिवेट (C) Counter sunk rivet काउंटर संक रिवेट (D) Conical head rivet कोनिकल हेड रिवेटANSWER - AShow Answer
20. What is the name of tool is used to support the snap head rivet?स्नैप हेड रिवेट का सपोर्ट करने वाला टूल का नाम क्या है? [Bharat Skill QB] (A) Dolly डॉली (B) Drift ड्रिफ्ट (C) Rivet set रिवेट सेट (D) Rivet snap रिवेट स्नैपANSWER - AShow Answer