Fitter turning Page-1 Question Bank

1.  What is the name of the specification marked as ʹXʹ shown in the figure?
चित्र में दर्शाए गए ʹXʹ से चिह्नित विनिर्देश का नाम क्या है?  [Bharat Skill QB]

(A) Length of the bed
 बेड की लंबाई
(B) Centre height of lathe
 खराद की सेंटर हाइट
(C) Length between centre
 केंद्र के बीच की लंबाई
(D) Diameter of work (Swing)
 कार्य का व्यास (स्विंग)

2.  What is the name of the part marked as ʹXʹ shown in the figure?
चित्र में दिखाए गए ʹXʹ से चिह्नित भाग का नाम क्या है?  [Bharat Skill QB]

(A) Tool post
 टूल पोस्ट
(B) Top slide
 टॉप स्लाइड
(C) Cross slide
 क्रॉस स्लाइड
(D) Saddle lock
 सैडल लॉक

3.  What is the merit of three jaw chuck in lathe machine?
खराद मशीन में तीन जबड़े वाले चक की मेरिट क्या है?  [Bharat Skill QB]

(A) Work can be set with ease
 काम आसानी से स्थिर किया जा सकता है
(B) Run out cannot be corrected
 रन आउट को सुधारा नहीं जा सकता
(C) Only round and hexagonal components can be held
 केवल गोल और हेक्सागोनल घटकों को पकड़ा जा सकता है
(D) Accuracy decreases as chuck gets worn out
 चक के खराब हो जाने से सटीकता कम हो जाती है

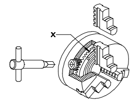
4.  What is the name of the part marked as ʹxʹ shown in the figure?
चित्र में दिखाए गए ʹxʹ से चिह्नित भाग का नाम क्या है?  [Bharat Skill QB]

(A) Body
 बॉडी
(B) Back plate
 बेक प्लेट
(C) External jaw
 बाहरी जॉ
(D) Crown wheel
 क्राउन व्हील

5.  What is the de-merit of four jaw chuck?
चार जबड़ा वाले चक का डी-मेरिट क्या है?  [Bharat Skill QB]

(A) Jaws are reversible
 जबड़े उलटने योग्य होते हैं
(B) Irregular shape job can be hold
 अनियमित आकार की जॉव पकड़ सकता है
(C) Heavy cuts can be given
 भारी कट दी जा सकती है
(D) Small and finished work will be damaged
 छोटे और परिष्कृत काम क्षतिग्रस्त होंगे