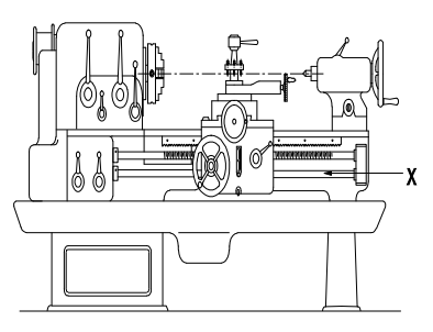
16. What is the name of the part marked "X"?"X" चिह्नित भाग का नाम क्या है? [Bharat Skill QB] (A) Bed बेड (B) Tail stock टेल स्टॉक (C) Feed shaft फीड शाफ्ट (D) Lead screw लीड स्क्रूANSWER - CShow Answer
17. What is the maximum swivelling angle of the compound rest in the lathe machine?खराद मशीन में कम्पाउंड रेस्ट का अधिकतम स्विवेल्लिंग एंगल क्या है? [Bharat Skill QB] (A) 90° (B) 180° (C) 220° (D) 360°ANSWER - DShow Answer
18. Which part is mainly supporting the lengthy job in lathe machine?कौन सा भाग मुख्य रूप से खराद मशीन में लंबी जॉब को सपोर्ट करता है? [Bharat Skill QB] (A) Face plate फेस प्लेट (B) Steady rest स्टैडि रेस्ट (C) Dog carrier डॉग कैरियर (D) Dead centre डेड सेन्टरANSWER - BShow Answer
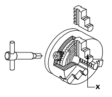
19. What is the name of the part marked as ʹXʹ shown in the figure?चित्र में दिखाए गए ‘X’ से चिह्नित भाग का नाम क्या है? [Bharat Skill QB] (A) Crown wheel क्राउन जॉ (B) Body बॉडी (C) Back plate बैक प्लेट (D) Jaw जॉANSWER - DShow Answer
20. What is the de-merit of 3 jaw chuck?3 जबड़ा चक का दोष क्या है? [Bharat Skill QB] (A) Work can be set with ease काम आसानी से निर्धारित किया जा सकता है (B) Internal and external jaws are available आंतरिक और बाहरी जबड़े उपलब्ध हैं (C) Accuracy decreases सटीकता कम हो जाती है (D) A wide range of cylindrical and hexagonal work can be held बेलनाकार और हेक्सागोनल कार्य की एक विस्तृत श्रंखला को पकड़ा जा सकता हैANSWER - DShow Answer