31. How many types of bed ways are in centre lathe machine?सेन्टर खराद मशीन में कितने प्रकार के बेड हैं? [Bharat Skill QB] (A) 2 (B) 3 (C) 5 (D) 4ANSWER - BShow Answer
32. What is the use of screw pitch gauge?स्क्रू पिच गेज का उपयोग क्या है? [Bharat Skill QB] (A) Check lead of the thread थ्रेड की लीड की जाँच करना (B) Check the pitch of the thread थ्रेड के पिच की जाँच करना (C) Check the minor dia of thread थ्रेड का माइनर डायामीटर की जाँच करना (D) Check the major dia of thread थ्रेड का मेजर डायामीटर की जाँच करनाANSWER - BShow Answer
33. What is the name of instrument?इस यंत्र का नाम क्या है? [Bharat Skill QB] (A) Vernier micrometer वर्नियर माइक्रोमीटर (B) Outside micrometer बाहरी माइक्रोमीटर (C) Three wire micrometer तीन वायर माइक्रोमीटर (D) Screw thread micrometer स्क्रू थ्रेड माइक्रोमीटरANSWER - DShow Answer
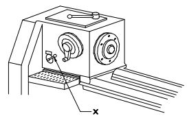
34. What is the name of part marked as "X" in center lathe?केंद्र खराद में "X" के रूप में चिह्नित भाग का नाम क्या है? [Bharat Skill QB] (A) Apron एप्रन (B) Saddle सैडल (C) Gross slide क्रास स्लाइड (D) Compound rest कम्पाउंड स्लाइडANSWER - AShow Answer
35. What is the name of part marked as "X"?"X" के रूप में चिह्नित भाग का नाम क्या है? [Bharat Skill QB] (A) Clutch क्लच (B) Feed selector फ़ीड सिलेक्टर (C) Lathe spindle खराद स्पिंडल (D) Feed direction lever फीड डायरेक्सन लीवरANSWER - DShow Answer