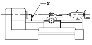
36. What is the name the specification of lathe marked as "X"?Marked "X" के रूप में चिह्नित खराद के विनिर्देशन का नाम क्या है? [Bharat Skill QB] (A) Bed length बेड की लंबाई (B) Centre height सेन्टर हाइट (C) Swing diameter स्विंग व्यास (D) Between the center of lathe खराद के केंद्र के बीचANSWER - BShow Answer
37. What is the purpose of back gear unit in lathe machine?खराद मशीन में बैक गियर यूनिट का उद्देश्य क्या है? [Bharat Skill QB] (A) Reduce the spindle speed स्पिंडल की गति कम करें (B) Increase the spindle speed स्पिंडल स्पीड बढ़ाएं (C) Quick change spindle speed स्पिनडल स्पीड को जल्दी बदलना (D) To avoid abnormal impact on spindle धुरी पर असामान्य प्रभाव से बचने के लिएANSWER - AShow Answer
38. What is the name of gauge?गेज का नाम क्या है? [Bharat Skill QB] (A) Ring gauge रिंग गेज (B) Screw Pitch gauge पिच गेज (C) Feeler gauge फीलर गेज (D) Radius gauge रेडियस गेजANSWER - BShow Answer
39. What is the range of pitch that can be measured by screw thread micrometer?पिच की सीमा क्या है जिसे स्क्रू थ्रेड माइक्रोमीटर द्वारा मापा जा सकता है? [Bharat Skill QB] (A) 0.01 to 0.5 mm 0.01 से 0.5 मि.मी. (B) 0.02 to 3.5 mm 0.02 से 3.5 मिमी (C) 0.25 to 3.5 mm 0.25 से 3.5 मिमी (D) 0.50 to 5.0 mm 0.50 से 5.0 मिमीANSWER - CShow Answer
40. What is the range of metric screw thread dimension is measured by screw thread micrometer?मैट्रिक स्क्रू थ्रेड विमा की किस रेंज को स्क्रू थ्रेड माइक्रोमीटर द्वारा मापा जाता हैI [Bharat Skill QB] (A) M1 to M6 M1 से M6 (B) M1 to M12 M1 से M12 (C) M1 to M30 M1 से M30 (D) M1 to M32 M1 से M32ANSWER - CShow Answer